

Product Description
Umount Hustler – FasTrak Zero Turn Mount | 2” Receiver Hook | Bolt-On Installation
Description
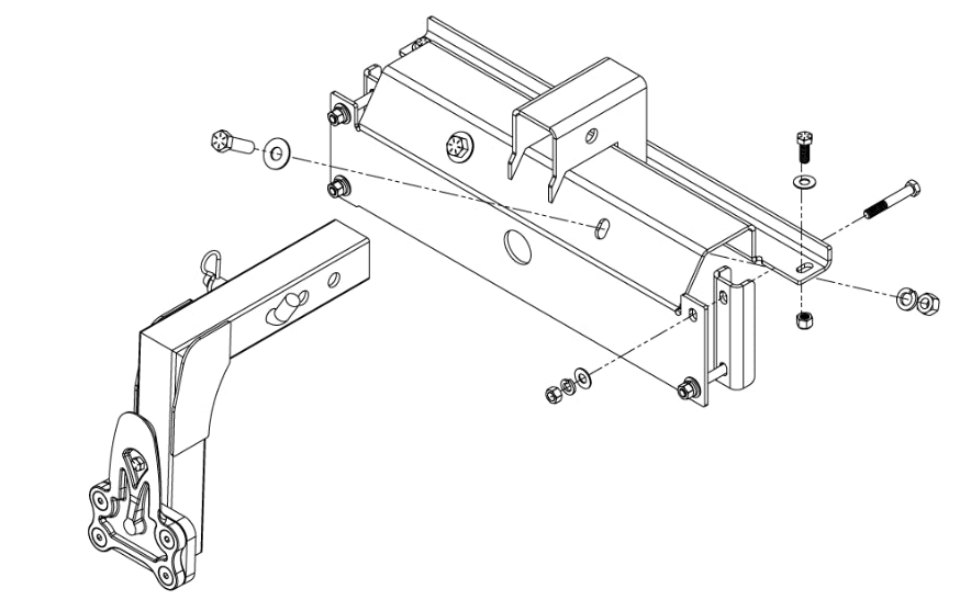
This mount was specifically designed for Hustler FasTrak zero turn mowers. This will bolt right up without any cutting or drilling. You just need to remove the front “Hustler” plate through the removal of 2 Phillips screws. This mount, once bolted up, provides a 2″ receiver hook for our 10778 mount (included with the purchase).
Key Features
- Specific Design: Engineered specifically for Hustler FasTrak zero turn mowers.
- Bolt-On Installation: No cutting or drilling required; bolts right up for easy installation.
- Simple Setup: Remove the front “Hustler” plate by taking out 2 Phillips screws.
- 2″ Receiver Hook: Provides a 2” receiver hook for the 10778 mount (included with the purchase).
Detailed Specifications
Specification | Detail |
---|---|
Model | Hustler – FasTrak Zero Turn |
Part Number | 10978 |
Compatibility | Hustler FasTrak zero turn mowers |
Installation | Bolt-on, no cutting or drilling |
Plate Removal | Remove 2 Phillips screws |
Receiver Hook | 2” receiver hook |
Included Mount | 10778 mount |
Provided Parts | Complete kit for installation |
Warranty | 1 Year - Parts |
Manual & Documents
General Warranty Info:
- Ripping It Outdoors works closely with our manufacturers to support your product warranty needs.
- Most products include a manufacturer warranty against defects for at least 12 months from the date of sale.
- Expendable components such as blades, oil, and sprockets are usually excluded from warranties.
- Contact us for specific warranty information about products or parts.
Videos
Shipping
General Shipping Info:
- Instantly calculate shipping quotes to the lower 48 states by 1. adding this product to your cart, 2. click continue to the checkout page and 3. enter your shipping address to check rates. Contact us for quotes for shipping to Hawaii, Alaska, Canada, Mexico and Internationally.
- Complimentary lift gate service on all freight shipments where it’s possible. We guarantee safe delivery!
- Low shipping rates for customers. We have negotiated the best possible rates for customers from our trusted carriers (ODFL, ESTES, UPS, and FedEx).
- Negotiate shipping rates if you think we can do better please reach out. Keep in mind some shipping rates also include assembly & configuration that as well!